
位置:大悟县悟源水处理厂位于湖北省孝感市大悟县阳平镇省道S243东侧,比邻澴河。
污水处理量:污水处理厂设计规模为30000吨/天,总投资6400万左右。主要处理大悟县城区居民生活污水。厂区占地面积约45亩。
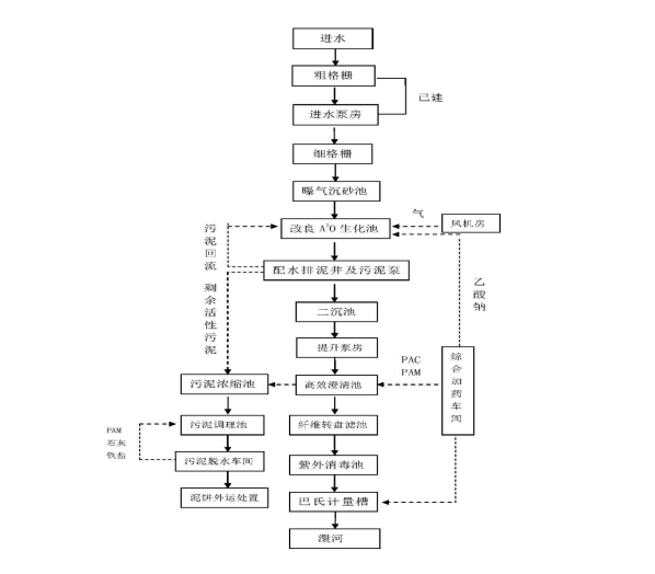
工艺流程简介:污水厂采用的工艺为“曝气沉砂池+氧化沟改良A/O/O生化池+二沉池+高效澄清池+纤维转盘滤池+紫外消毒”为主体的处理工艺,出水排入澴河。工艺流程图如下:

悟源水处理厂工程于2019年开始动工,于2023年1月6日完成环保验收,处理后的水质指标能够达到城镇污水处理厂污染物排放标准(GB18918-2002)一级A标准。

三、工艺部分简介

工艺设计内容包括污水处理工艺、污泥处理工艺、除臭工艺设计。其主要建设内容如下:
(2)细格栅间及曝气沉砂池
(2)细格栅间及曝气沉砂池

细格栅及曝气沉砂池实物图
细格栅间,设计规模3万m3/d。细格栅间设2条渠道,每条渠道设循环式齿耙清污机1套,格栅前设闸门用于维护检修。
曝气沉砂池分两格,单格处理水量为1.5万吨/日,最大流量时水力停留时间为3.6min,采用穿孔管曝气。配套鼓风机,砂水分离器,螺旋输送机等。
(3)改良A/A/O生化池
曝气沉砂池分两格,单格处理水量为1.5万吨/日,最大流量时水力停留时间为3.6min,采用穿孔管曝气。配套鼓风机,砂水分离器,螺旋输送机等。
(3)改良A/A/O生化池

氧化沟改良A/A/O生化池实物图
共设一座生物池,分为两格,每格分为选择区、厌氧区、缺氧区和好氧区四个部分。
(2) 二沉池、配水排泥井及污泥泵房
(2) 二沉池、配水排泥井及污泥泵房

二沉池、配水排泥井及污泥泵房实物图
共设2座周边进水周边出水辐流式二沉池,出水采用不锈钢齿形堰,池内设中心传动单管吸泥机,排泥进入污泥泵房。中间井为配水井,外围井为排泥及污泥泵房。污泥回流采用3台潜污泵;剩余污泥泵2台,1用1备。
(5)高效澄清池及提升泵房

高效澄清池实物图
设1组2座,每座高效澄清池设混合区、絮凝区及沉淀区。设置4台高效搅拌器,2台中心导流筒,2台中心传动刮泥机,4台污泥转子泵。
(2) 纤维转盘滤池
(2) 纤维转盘滤池

纤维转盘滤布滤池实物图
共设转盘滤池1座,每座处理规模3万m3/天;每座滤池分两格,每格滤池内设置8片D=3.0m的滤盘,另配套供应转盘反冲洗设备系统共4台,2用2备。
(7) 紫外线消毒渠
(7) 紫外线消毒渠

紫外消毒渠及在线监测站房实物图
紫外线消毒渠设计规模3万m3/d。紫外消毒渠设1格,安装12套消毒模块,同时配套镇流器柜及自动清洗空压机。
(8) 鼓风机房及变配电间
(8) 鼓风机房及变配电间

空气悬浮风机鼓风机房
鼓风机房设计规模为3.0万m3/d。鼓风机房内共设4台机位,安装4台空气悬浮鼓风机,单台性能参数为:Q=40m3/min,ΔP=0.8bar,P=60kW,3用1备。
(9) 综合加药间
(9) 综合加药间

综合加药间实物图
综合加药间的功能是化学除磷投加碱式聚合氯化铝(PAC)、PAM、投加外加碳源(乙酸钠)。
PAC投加采用液体碱式氯化铝,两个投加点,位于高效澄清池混合区。设3台数字计量泵投加2用1备。
PAM投加采用一体化溶解加药装置,投加能力3kg/h,N=2.4kW,配套设置螺杆泵及附件,成套系统供货。投加至高效澄清池絮凝区。
碳源投加采用液体碳源。共2个投加点,位于生物池缺氧段,设三台数字计量泵,2用1备。
(10)污泥浓缩池
PAC投加采用液体碱式氯化铝,两个投加点,位于高效澄清池混合区。设3台数字计量泵投加2用1备。
PAM投加采用一体化溶解加药装置,投加能力3kg/h,N=2.4kW,配套设置螺杆泵及附件,成套系统供货。投加至高效澄清池絮凝区。
碳源投加采用液体碳源。共2个投加点,位于生物池缺氧段,设三台数字计量泵,2用1备。
(10)污泥浓缩池

污泥浓缩池实物图
污泥浓缩池按3万m3/d产生污泥设计。共设1座重力式污泥浓缩池,直径12.0m,H=5.20m。
(11) 污泥脱水车间
(11) 污泥脱水车间

污泥脱水车间实物图
污泥脱水车间将经过浓缩后的污泥进行压榨脱水,使含水率降到60%以下,设计处理干泥量4.68t/d(含调理剂)。设置高压隔膜压滤机(配套液压储泥斗)2台;配套高压进料泵2台、压榨水泵2台、清洗水泵2台,及空压机系统(空压机1台、石灰投加系统(石灰料仓20m3),和PAM投加系统。
(11) 厂区废水提升泵房
(11) 厂区废水提升泵房

厂区废水提升泵房实物图
主要用于收集提升厂内生活、生产及放空废水,配备2台潜水排污泵,1用1备。
(11) 生物除臭设施
(11) 生物除臭设施

生物除臭设施实物图
采用生物除臭工艺,共设1套除臭设备。主要针对细格栅及曝气沉砂池、改良A20生物池、污泥浓缩池,污泥脱水车间进行除臭。


